|
RL30000W
Single-Ended Beam, Alloy Steel
NTEP 1:5000 Class
III Multiple Cell, Welded-seal, IP67

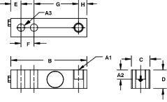
The RL30000W
single-ended shear beam is identical to the proven RL30000
with the added feature of a welded gage area. NTEP-certified
cells in capacities from 1000 to 10,000 lb (453.6 to 4535.9
kg); Complete with 20' (6.1m) of load cell cable.
|