|
RL800WT
Single Point, Stainless Steel, IP67

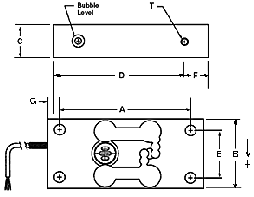
The RL800WT
is a rugged single point load cell that is ideal for upgrading
platform scales. Modeled after a popular load cell used in Weightronix
Æ platform scales, this model features the additional protection
of stainless steel. Available in capacities ranging from 25
to 200 lb (11.3 to 90.7kg), with each unit being provided with
10' (3.1m) of load cell cable.
|