|
RLCSP1
Compression Canister, Stainless Steel

Hermetically-sealed
stainless steel canister cell designed for vehicle and process
applications. High-capacity load cell is built for reliability,
durability and extreme precision. RLCSP1 cells are ideal for
applications where optimum precision and durability are needed.
Capacities from 25,000 to 200,000 lb (11,339.8 to 90,718.5 kg).
Complete with 30' (9.2m) of load cell cable.
|
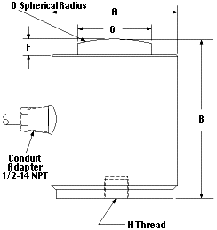
Rated
Capacity |
A |
B |
D |
F |
G |
H |
DEPTH |

lb/inches |
| 25,000-50,000 |
3.00 |
3.25 |
6.00 |
.40 |
1.25 |
1/2-20
UNF-2B |
.31 |
| 100,000 |
4.00 |
5.00 |
6.00 |
.51 |
2.31 |
3/4-16
UNF-2B |
.56 |
| 200,000 |
6.00 |
7.25 |
17.00 |
1.04 |
3.13 |
3/4-16
UNF-2B |
.75 |

kg/millimeters |
| 11,339.8-22,679.6 |
76.2 |
82.6 |
152.4 |
10.2 |
31.8 |
1/2-20
UNF-2B |
7.9 |
| 45,359.2 |
101.6 |
127.0 |
152.4 |
13.0 |
58.7 |
3/4-16
UNF-2B |
14.2 |
| 90,718.5 |
152.4 |
184.2 |
431.8 |
26.4 |
79.5 |
3/4-16
UNF-2B |
19.1 |
 |
|